{"product":{"productId":"agid.20831","price":117.85,"name":"Docisk boczny"},"currency":"PLN"}
Materiał
Stal do ulepszania cieplnego.
Wersja
hartowany (33-39 HRC) i oksydowany.
Wyświetl więcej
Wyświetl mniej
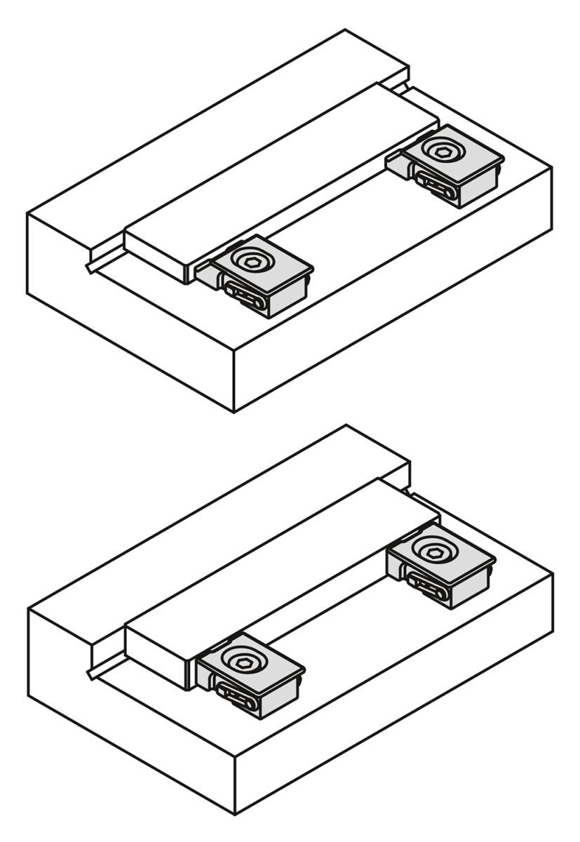
Docisk boczny wąski, forma A
od
117,85 PLN
plus VAT
plus koszty wysyłki
Docisk boczny szeroki, forma B
od
117,85 PLN
plus VAT
plus koszty wysyłki
Opis
Materiał
Stal do ulepszania cieplnego.
Wersja
hartowany (33-39 HRC) i oksydowany.
Wskazówka
Te dociski boczne umożliwiają mocowanie bardzo niskich przedmiotów.
Element mocujący z dociskiem.
Element mocujący i podpora w jednej, kompaktowej jednostce.
Element mocujący z dociskiem.
Element mocujący i podpora w jednej, kompaktowej jednostce.
Wskazówka dotycząca planu
Wymiar L1 odnosi się do stanu po zamocowaniu.